Видео
Полный обзор
CHL – насос для воды на любой случай
Качает горячий тосол
ZENOVA CHL 2-6: можно ли качать горячий тосол неделями напролет
Тест на незамерзайке
Как хорошо насос Zenova из нержавейки справится с тосолом (незамерзайкой)?
Описание модели CHL 2-6 v.220
Горизонтальный многоступенчатый насос CHL 2-6 v.220 применяется в бытовом, промышленном, сельскохозяйственном водоснабжении для подачи чистой воды без абразивных примесей. Насос устойчив к коррозии, основным конструкционным материалом является нержавеющая хромоникелевая сталь AISI 304, из нее изготовлены корпус насоса, корпус каскада, рабочее колесо, вал, крышка корпуса и распорная втулка. Насос имеет 5 рабочих ступеней. Оборудован патрубками с внутренней резьбой: всасывающий патрубок диаметром G1" (25 мм), расположен горизонтально, выше вала насоса; напорный патрубок того же диаметра направлен вверх.
Производительность насоса от 0,5 до 3,5 м³/час (от 8,3 до 58,3 л/мин), а напор от 24 до 53,5 м. вод. ст. При этом оптимальная рабочая точка производительности насоса 2 м³/час (33,3 л/мин) при давлении 44 м. вод. ст. КПД в указанной точке составляет около 44%.
Насос оборудован однофазным двигателем 2900 об/мин, 220 В, номинальной мощностью 0,75 кВт. Класс изоляции "F". IP 55.
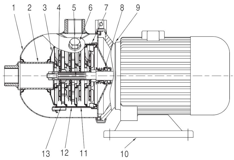
Материалы конструкции

| Элемент насоса | Используемые материалы |
| 1. Корпус | Нержавеющая сталь AISI 304 |
| 2. Соединительная трубка | |
| 3. Прижимная пластина | |
| 4. Рабочее колесо | |
| 5. Вал | |
| 6. Болт заливной горловины | |
| 7. Конфузор последней ступени | |
| 8. Механическое уплотнение | Нержавеющая сталь AISI 304, карбид кремния, витон |
| 9. Торцевая крышка двигателя | Алюминиевый сплав |
| 10. Опорная плита | Сталь AISI 1015 |
| 11. Конфузор промежуточной ступени | Нержавеющая сталь AISI 304 |
| 12. Графитовая втулка конфузора | |
| 13. Конфузор первой ступени |
Конструкция
Насосы CHL выполнены в виде единого моноблока, в котором объединены электродвигатель и насосная часть, с находящимися в ней рабочими ступенями. Корпусная часть выполнена из нержавеющей стали. Расположение насосов горизонтальное, есть отверстия для предварительного залива и слива воды. Входной патрубок расположен над валом насоса, напорный радиальный патрубок имеет выход вверх.
Данные насосы имеют компактную конструкцию, удобную в обслуживании. Быстросъемный корпус насоса дает возможность легко очищать рабочее колесо.
Электродвигатель:
- 2900 оборотов/минуту;
- асинхронный электродвигатель с защитой от перегрева;
- степень защиты: IP55;
- класс изоляции: F;
- стандартное напряжение: 50 Гц, однофазное исполнение 220 В, трехфазное исполнение 220/380 В.
Условия эксплуатации
- насосы CHL могут перекачивать чистую, невзрывоопасную, маловязкую жидкость, не содержащую абразивных частиц и волокон;
- жидкость, перекачиваемая насосом, не должна быть агрессивной к нержавеющей стали;
- температура жидкости: от -15 до +110°C;
- температура окружающей среды: максимум +40°C.
Сфера использования
- водоснабжение;
- системы кондиционирования воздуха;
- системы охлаждения, нагрева, циркуляции воды;
- системы водоочистки, фильтрации, водоподготовки;
- системы орошения;
- санитарно-техническое оборудование;
- установки повышения давления.
Габаритный чертеж модели Zenova CHL 2-6 v.220




































_1.jpg)




























































































































































































































































Гарантия 18 мес.
