Описание модели HUSKY 2200P-P01-G-P2-PP-PT-PO-PT
Мембранный пневматический насос Graco HUSKY 2200P-P01-G-P2-PP-PT-PO-PT (заводской артикул 653512) имеет корпус из полипропилена, мембраны из литого PTFE/Santoprene: со стороны жидкости тефлоновая (PTFE) сторона мембраны, а к воздуху сторона мембраны из сантопрена. Седла клапанов из полипропилена, шариковые клапаны из тефлона. Насос предназначен для перекачивания кислот и щелочей, грунтовок и красок, а также различных нейтральных сред, в том числе воды, антифризов, масел, моющих жидкостей. Работает от энергии сжатого воздуха, давление воздуха на входе в насос должно быть от 1,4 до 8,6 бар.
Температура перекачиваемой жидкости должна быть от +4 до +66 °C.
Производительность насоса составляет от 1 до 45,4 м3/час (от 16 до 757 л/мин). Максимальный напор жидкости 86 метров.
Максимальный расход воздуха 4 м3/мин.
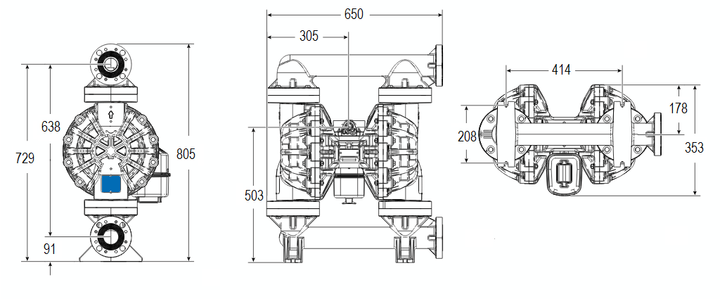
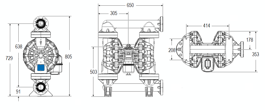
Всасывающий и напорный патрубки диаметром 2" (50 мм), с боковыми фланцами ANSI/DIN. Диаметр канала подачи воздуха - 3/4" npt.
Допустимая вязкость жидкости до 20 000 сстокс, допустимый диаметр твердых включений в жидкости до 9,5 мм.
Максимальная высота самовсоса по сухой линии 4,9 метра, а по заполненной 9,4 метра.
Работа в режиме самовсоса, а также перекачивание жидкости повышенной вязкости снижают производительность.
Максимальная скорость работы насоса 125 циклов в минуту. За один цикл насос перекачивает 6,1 литра жидкости.
Уровень шума 95 дБ при давлении 7 бар, 87 дБ при давлении 4,8 бар.
Рабочие характеристики насоса Graco HUSKY 2200P-P01-G-P2-PP-PT-PO-PT
Габаритный чертеж насоса Graco HUSKY 2200P-P01-G-P2-PP-PT-PO-PT
У нас пока нет отзывов по этой модели.
В настоящее время никто вопросов не задавал. Вы можете быть первым.




































_1.jpg)




























































































































































































































































Гарантия 12 мес.